日本ROYAL MASTER液压冲孔机706NSW
 |
闻诺货号:FP-706NSW
规格型号:706NSW
产品品牌:ROYAL MASTER
品牌所属地:日本
最小订货量:1
全国订购服务热线:021-6767-5169
工作时间:周一至周五 8:45-17:30 |

日本ROYAL MASTER液压冲孔机706NSW|性能特点: 1、高强度锻钢C型头经久耐用不易变形 2、复动式液压油缸强力退回油缸保证不卡模 3、退料装置间隙可调 4、冲孔定位精准下料无毛刺 5、液压泵操作开关整合于提柄便于操作 6、可用于建筑业大量工字钢冲孔作业
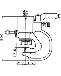
日本ROYAL MASTER液压冲孔机|规格参数: 1、出力:450KN 2、重量:21KG 3、最大冲孔能力:¢24x16 ¢25x15 4、喉深 :60mm 5、工作压力 :70Mpa
上海闻诺经营产品:压接钳 | 剥皮器 | 线缆切割 | 棘轮切刀 | 冲孔机 | 电缆弯曲器 | 电缆校直器 | 电缆打磨机 | 母线弯曲机 | 螺母破切器 | 母线切断机 | 角钢加工机 | 磁座钻 | 切割机 | 开孔器 | 液压泵 | 油缸 | 扳手(品牌有:德国KLAUKE | 美国POWER TEAM | 美国KUDOS | 日本IZUMI | 美国GREENLEE | 德国NOVOPRESS | 美国SALISBURY | 瑞士MOS | 日本NGK | 法国DUBUIS | 日本IKURATOOLS | 日本KUKEN |日本SANKYO | 日本O.J | 日本Y.S|意大利INTERCABLE | 美国RIPLEY |)系列进口工具, 实验室仪器仪表以及耗材等产品。 |